小学5年生 算数 角度7(正十角形) 【解説付き】無料プリント問題
小学5年生 算数 角度7(正十角形)
この「小学5年生 算数 角度7(正十角形)」のプリントは、「正十角形(10角形)」の角度を計算する練習です。まず正多角形のきほんをおさえます。正十角形は頂点が10こあるので、中心角は 360°÷10=36°、外角も 36°、1つの内角は 180°−36°=144° になります。問題①では、中心Aからの線や対称性を使い、36°ずつ等しく分かれること、一直線は180°・一周は360°というきまりを組み合わせて、ア・イの角度をていねいに求めます。
問題②では、長方形(角はすべて90°)と正十角形を組み合わせた図で考えます。長方形の直角90°と、正十角形の36°(中心角/外角)や144°(内角)との“たし算・ひき算”で未知の角を出します。辺にそってできる平行や同位角・錯角、向かい合う対頂角が等しいこともカギです。
ぜひこのプリント問題をご家庭での学習に役立ててください。
でも、正直言って

「毎日プリントを探すのめんどくさい…」
「今日は何を勉強させよう…」
って思いますよね。
そんなお悩みを抱える保護者の方は少なくありません。
\でもZ会なら必要な教材が毎月届くから安心!/
1、プリントを探す手間ゼロで保護者の方も時間にゆとりができる!
2、勉強スケジュール管理もおまかせ!
3、良問で学習習慣がつき、成績アップに直結!
これらのお悩みを解決するなら、今すぐチェック!
▼【無料資料請求】でまずは確認してみるといいですよ😃
▼ダウンロードはこちらから
\まだまだある!他の図形問題はこちら/

小学5年生 算数 角度7(正十角形) 解説・回答
上記問題の解説・回答をします。考え方や回答方法などの理解を深めてください。
① 計算
正答
ア=144°、イ=72°
解説
まずアから求める。
前提知識として、正十角形の内角の和は1440°。1つの内角は1440➗10=144°。1つの中心角は360➗10=36°。
アは10等分した4つ分の中心角になるので、36✖️4=144°が正解。

次にイを求める。
中心から各頂点へ補助線を引くと、36°ずつに等分された二等辺三角形が並ぶ。つまり上の図の赤枠の中心角は36°で二等辺三角形だから、180ー36=144。144➗2=72。
よってイは72°が正解。
間違えやすいポイント
中心角の計算ミス。

計算はゆっくりね。
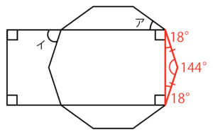
② 計算
正答
ア=36°、イ=72°
解説

まずアの角度を求める。上の図の赤枠箇所は144°。

次に上の図の赤枠の三角形の注目すると2辺が等しい三角形なので、これは二等辺三角形とわかる。つまりアの角度を求めるには144°から90°と18°を引いた残りの角度を出せばいいということである。
よってアの角度は144ー90−18=36°が正解。

次にイを求める。
先ほどの解説より、アを求めるときに90+18=108°が出たので、上の図のように向かい側も同じ角度になる。
よってイの角度は180ー108=72°が正解。
間違えやすいポイント
等しい辺に注目できない。

このような複合問題は色々な問題を解くと慣れてくるよ。
▼こちらも合わせて読みたい!
-722x1024.png)


-100x100.png)
-100x100.png)
-100x100.png)

-100x100.png)
-100x100.png)












ディスカッション
コメント一覧
まだ、コメントがありません